Звуковое давление,дБ
88
Количество ШС
1 (тампер вскрытия)
Количество выходов
1 (каскад оповещ)
Количество линейных входов
1 (от ППКОП с упр. вых. 12В)
Суммарная длительность речевых сообщений, с
120
Номинальная мощность,Вт
2
Максимальное количество речевых сообщений в памяти устройства
2 (пост)
Частотный диапазон,Гц
200 - 5000
Количество светодиодов, шт.
4
Цвет
Белый+зелёный
Табло с пиктограммами
Встроенное
Дополнительное оборудование
Есть: встр. свет. табло и громкогов.
Режим работы
Круглосуточно
Время срабатывания, сек, не более
Не более 0,35
Управление прибором
Перемычками
Материал
Пластик
Тип изделия
Прибор управления речевым оповещением с встроенной акустикой
Индикация
Световая
Тип оповещения
Световой и речевой
Напряжение питания, В
9 - 14
Ток потребления. мА
250
Потребляемая мощность, Вт
2,1
Разъем
Клеммы
Диапазон рабочих температур, °С
-10...+55
Степень защиты, IP
40
Габаритные размеры, мм
140х200х67
Масса (без аккумулятора) , не более, кг
0,5
Рокот-3, вар. 2
Артикул: 208735
По запросу
Данный товар находится в архиве!
Возможность поставки уточняйте у менеджера!!
Речевой, с акустической системой + световой указатель, 3 Вт
Характеристики:
Производитель:
Сибирский Арсенал
Описание:
Рокот-3 вар.2 - прибор управления речевым и световым оповещением с встроенной акустической системой (88 дБ) и встроенным световым табло (Выход - 3 шт. разные наклейки) для трансляции речевых сообщений и оповещения путей эвакуации в системах пожарной сигнализации на объектах различной степени сложности.
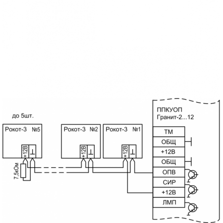
Прибор предназначен для работы совместно с приемно-контрольными пожарными приборами серий «Гранит-2,3,4,5,8,12,16/24», «Карат», «Кварц вар.2», «Пирит-ПУ» или аналогичными приборами других производителей, имеющими выход включения оповещения типа - управляемый выход 12В/250мА и обеспечивающий контроль исправности линии оповещения.
Особенности:
- Прибор позволяет воспроизводить 2 различных речевых сообщения:
- "Внимание! Пожарная тревога! Срочно покиньте помещение".
- "Включена система пожаротушения! Покиньте помещение".
- Нужное сообщение выбирается установкой перемычек.
- Прибор содержит в комплекте 3 наклейки с указателями для светового оповещения:
- Указатель «Выход».
- Указатель «Направление к выходу влево».
- Указатель «Направление к выходу вправо».
- Воспроизведение сообщений синхронизировано, поэтому имеется возможность подключать к управляющему прибору несколько Рокот-3 для совместного оповещения.
- Для защиты от несанкционированного доступа посторонних лиц в приборе установлен тампер, контакты которого могут быть включены в охранный шлейф управляющего прибора.
- Конструкция прибора предусматривает его использование в настенном положении.
Техническая документация
Сертификаты
Ввиду того, что изделие может быть модифицировано, сведения, представленные на данной странице (изображение, характеристики, документация и т.п.), могут отличаться от фактических особенностей товара. За дополнительной информацией обращайтесь в техническую поддержку.
Каталог товаров
-
Охранно-пожарная сигнализация
-
Адресные системы
-
Радиоканальные системы
-
Астра-Р (ТЕКО)
-
Астра-РИ (ТЕКО)
-
Астра-РИ-М (ТЕКО)
-
Астра-Прайм (ТЕКО)
-
Астра-Zитадель (ТЕКО)
-
Ладога-РК (Риэлта)
-
С2000Р (Болид)
-
ВЕКТОР-АР (Сибирский Арсенал)
-
ВЕТТА-2020 (Сибирский Арсенал)
-
ГРАНИТ-РК (Сибирский Арсенал)
-
Риф-Ринг-1 (Альтоника)
-
Риф-Ринг-2 (Альтоника)
-
Риф-Ринг-701 (Альтоника)
-
Риф-Ринг-200 (Альтоника)
-
Lonta Optima (Альтоника)
-
Lonta-202 (Альтоника)
-
ACS (GSN)
-
-
GSM системы
-
Приборы приемно-контрольные
-
Извещатели охранные для помещений
-
Извещатели магнитоконтактные
-
Извещатели тревожной сигнализации
-
Извещатели разбития стекла акустические
-
Извещатели разбития стекла ударноконтактные
-
Извещатели движения ультразвуковые
-
Извещатели движения инфракрасные объемные
-
Извещатели движения пассивные инфракрасные поверхностные (штора)
-
Извещатели движения пассивные инфракрасные линейные (коридор)
-
Извещатели движения пассивные инфракрасные потолочные
-
Извещатели движения комбинированные
-
Извещатели совмещенные
-
Извещатели вибрационные и емкостные
-
-
Извещатели охраны периметра
-
Извещатели охраны периметра линейные ИК-активные
-
Извещатели охраны периметра линейные радиоволновые для установки на открытых участках
-
Извещатели охраны периметра ИК-пассивные
-
Извещатели охраны периметра объемные радиоволновые
-
Извещатели охраны периметра комбинированные
-
Извещатели охраны периметра проводно-волновые
-
Извещатели охраны периметра вибрационные
-
-
Извещатели пожарные
-
Извещатели дымовые 2-х проводные
-
Извещатели дымовые 4-х проводные
-
Извещатели дымовые автономные
-
Извещатели дымовые линейные
-
Извещатели дымовые аспирационные
-
Извещатели тепловые максимальные (пороговые)
-
Извещатели тепловые максимально-дифференциальные
-
Извещатели линейные тепловые пожарные
-
Извещатели пламени
-
Извещатели ручные
-
Извещатели комбинированные
-
-
Извещатели аварийные
-
Оповещатели
-
Светильники и аварийное освещение
-
Системы активной защиты
-
Распродажа
-
-
Системы охранного телевидения
-
Системы контроля и управления доступом
-
Домофоны
-
IP-домофония
-
Идентификаторы
-
Кнопки выхода
-
Считыватели
-
Кодовые панели
-
Автономные устройства контроля доступа
-
Сетевые системы контроля доступа
-
Биометрический контроль доступа
-
Системы обратной и диспетчерской связи
-
Замки
-
Электрозащелки
-
Доводчики
-
Турникеты
-
Калитки
-
Ограждения
-
Шлагбаумы
-
Автоматика для ворот
-
Досмотровое оборудование
-
-
Системы оповещения
и управление эвакуацией-
СОУЭ Тромбон
-
СОУЭ Ария (Электротехника и Автоматика)
-
СОУЭ Соната (ВИСТЛ)
-
СОУЭ С (ИП Раченков)
-
СОУЭ МЕТА
-
СОУЭ Октава (Полисервис)
-
СОУЭ Рокот (Сибирский Арсенал)
-
СОУЭ РЕЧОР (РУССБЫТ)
-
СОУЭ РЕЧОР-АТ (АНТИТЕРРОР) (РУССБЫТ)
-
СОУЭ ПКИ-Р (СпецКомИнтегРо)
-
Системы оповещения о пожаре Asenware
-
СОУЭ ROXTON
-
Звуковое оборудование RORSYS
-
СОУЭ JDM
-
СОУЭ MKV
-
СОУЭ ZVON
-
СОУЭ INTER-М
-
-
Взрывозащищенное оборудование
-
Извещатели пожарные взрывозащищенные
-
Извещатели пожарные тепловые резервуарные
-
Извещатели пожарные тепловые точечные
-
Извещатели пожарные тепловые максимально-дифференциальные
-
Извещатели пожарные дымовые
-
Извещатели пожарные комбинированные
-
Извещатели пожарные ручные взрывозащищенные
-
Извещатели пожарные пламени взрывозащищенные
-
Комплектующие к пожарным извещателям
-
-
Извещатели пожарные линейные взрывозащищенные
-
Извещатели охранные взрывозащищенные
-
Извещатели аварийные взрывозащищенные
-
Оповещатели взрывозащищенные
-
Табло оповещения взрывозащищённое
-
Приборы приемно-контрольные и пульты управления взрывозащищенные
-
Адресные взрывозащищенные системы
-
Посты управления взрывозащищенные
-
Системы видеонаблюдения взрывозащищенные
-
Системы контроля доступа взрывозащищенные
-
Громкоговорители взрывозащищенные
-
Коробки коммутационные взрывозащищенные
-
Барьеры искрозащиты
-
Кабельные вводы взрывозащищенные
-
-
Источники вторичного электропитания
-
Расходные и монтажные материалы
-
Средства пожаротушения
-
Первичные средства пожаротушения
-
Порошковое пожаротушение
-
Водяное пожаротушение
-
Аэрозольное пожаротушение
-
Газовое пожаротушение
-
Автономные установки пожаротушения
-
Клапан сброса избыточного давления КСИД
-
Водопенное оборудование
-
Шкафы пожарные
-
Дымоудаление
-
Средства защиты и спасения
-
Знаки безопасности и плакаты
-
-
Сетевое оборудование