Количество выходов
1 (реч оповещ)
Максимальное количество речевых сообщений в памяти устройства
1
Количество линейных входов
1(ППКОП)+1 (УДП)
Количество светодиодов, шт.
12
Рекомендуемый АКБ, А*ч
1х2,2
Реле выходы
2 (ОК)
Максимально комутируемые напряжение/ток, В/А
20/01
Количество клавиш управления
5
Номинальная мощность,Вт
6
Суммарная длительность речевых сообщений, с
60
Количество подключаемых извещателей
До 4 или 16 (от типа АС)
Контроль линии оповещения
Есть
Режим работы
Круглосуточно
Клавиатура (или регистратор)
Механические кнопки
Время срабатывания, сек, не более
Не более 0,35
Управление прибором
Перемычками
Материал
Пластик
Тип изделия
Прибор управления речевым оповещением
Тип оповещения
Речевой
Цвет
Светло-серый + красный
Индикация
Световая и звуковая
Напряжение питания, В
187 - 242; 11 - 14,2
Ток потребления. мА
500
Потребляемая мощность, Вт
12
Разъем
Клеммы
Диапазон рабочих температур, °С
-30...+55
Степень защиты, IP
40
Габаритные размеры, мм
205х200х75
Масса (без аккумулятора) , не более, кг
0,5
Прибор управления
1 шт
Прибор управления Рокот
| Количество | Ваша цена | Экономия |
|---|---|---|
| Опт от 11 шт. | 4 305 р./шт. | 440 р. |
| Запросить КП на крупный опт |
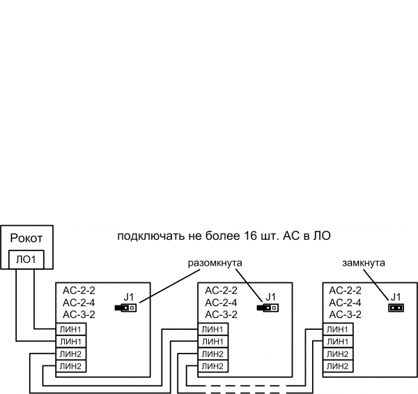
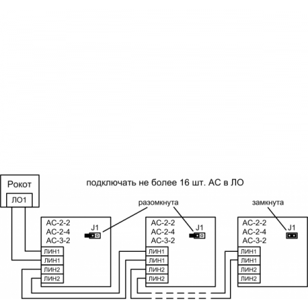
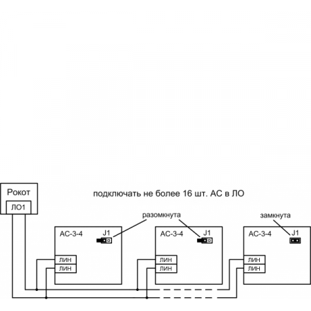
Рокот - прибор управления с контролем линии речевого оповещения на 1 зону для трансляции предварительно записанного 1-ого речевого сообщения при возникновении пожара или других экстремальных ситуаций.
Прибор работает с акустическими системами «АС-2-1», «АС-3-1», «АС-3-3», «АС-2-2», «АС-3-2», «АС-3-4», а так же «АС-2-3» и «АС-2-4» (без подключения светового канала), подключёнными с помощью соединительных линий (линий оповещения).
Прибор предназначен для установки внутри защищаемого объекта и рассчитан на круглосуточную непрерывную работу.
Прибор предназначен для работы совместно с приемно-контрольными пожарными приборами серий «Гранит», «Карат», «Кварц», «Пирит» или аналогичными приборами других производителей, имеющими выход включения оповещения типа - «открытый коллектор» либо «нормально разомкнутые контакты реле».
Особенности:
- Прибор обеспечивает речевое оповещение, воспроизводя одно записанное при его изготовлении тревожное сообщение: «Внимание! Пожарная тревога! Всем сотрудникам и посетителям необходимо срочно покинуть здание».
- Прибор имеет выход оповещения, к которому могут быть подключены до 4 АС типов: «АС-2-1», «АС-2-3», «АС-3-1», «АС-3-3» или до 16 АС, имеющих высокое входное сопротивление: «АС-2-2», «АС-2-4», «АС-3-2», «АС-3-4».
- Управление тревожным оповещением осуществляется:
- автоматически, при получении сигнала от прибора пожарной сигнализации, включенного в линию УА;
- вручную, с панели индикации и управления прибора;
- дистанционно, с помощью устройства дистанционного пуска, включенного в линию УР.
- Прибор обеспечивает автоматический переход на питание от аккумуляторной батареи (АБ) при пропадании напряжения сети и обратно с сохранением функционального состояния.
- Прибор, при наличии сетевого напряжения, подзаряжает АБ в буферном режиме.
- Прибор имеет функции контроля наличия АБ, защиты АБ от глубокого разряда, защиты АБ от короткого замыкания и защиты АБ от переполюсовки выводов.
- Прибор осуществляет непрерывный контроль линий управления и периодический контроль линии оповещения на отсутствие замыканий или обрывов.
- Для обеспечения контроля исправного состояния системы оповещения прибор имеет выход «Неисправность».
- Для обеспечения контроля запуска оповещения прибор имеет выход «Пуск».
- Усилитель мощности звукового сигнала, используемый в приборе, имеет защиту от короткого замыкания линии оповещения.
Ввиду того, что изделие может быть модифицировано, сведения, представленные на данной странице (изображение, характеристики, документация и т.п.), могут отличаться от фактических особенностей товара. За дополнительной информацией обращайтесь в техническую поддержку.
-
Охранно-пожарная сигнализация
-
Адресные системы
-
Радиоканальные системы
-
Астра-Р (ТЕКО)
-
Астра-РИ (ТЕКО)
-
Астра-РИ-М (ТЕКО)
-
Астра-Прайм (ТЕКО)
-
Астра-Zитадель (ТЕКО)
-
Ладога-РК (Риэлта)
-
С2000Р (Болид)
-
ВЕКТОР-АР (Сибирский Арсенал)
-
ВЕТТА-2020 (Сибирский Арсенал)
-
ГРАНИТ-РК (Сибирский Арсенал)
-
Риф-Ринг-1 (Альтоника)
-
Риф-Ринг-2 (Альтоника)
-
Риф-Ринг-701 (Альтоника)
-
Риф-Ринг-200 (Альтоника)
-
Lonta Optima (Альтоника)
-
Lonta-202 (Альтоника)
-
ACS (GSN)
-
-
GSM системы
-
Приборы приемно-контрольные
-
Извещатели охранные для помещений
-
Извещатели магнитоконтактные
-
Извещатели тревожной сигнализации
-
Извещатели разбития стекла акустические
-
Извещатели разбития стекла ударноконтактные
-
Извещатели движения ультразвуковые
-
Извещатели движения инфракрасные объемные
-
Извещатели движения пассивные инфракрасные поверхностные (штора)
-
Извещатели движения пассивные инфракрасные линейные (коридор)
-
Извещатели движения пассивные инфракрасные потолочные
-
Извещатели движения комбинированные
-
Извещатели совмещенные
-
Извещатели вибрационные и емкостные
-
-
Извещатели охраны периметра
-
Извещатели охраны периметра линейные ИК-активные
-
Извещатели охраны периметра линейные радиоволновые для установки на открытых участках
-
Извещатели охраны периметра ИК-пассивные
-
Извещатели охраны периметра объемные радиоволновые
-
Извещатели охраны периметра комбинированные
-
Извещатели охраны периметра проводно-волновые
-
Извещатели охраны периметра вибрационные
-
-
Извещатели пожарные
-
Извещатели дымовые 2-х проводные
-
Извещатели дымовые 4-х проводные
-
Извещатели дымовые автономные
-
Извещатели дымовые линейные
-
Извещатели дымовые аспирационные
-
Извещатели тепловые максимальные (пороговые)
-
Извещатели тепловые максимально-дифференциальные
-
Извещатели линейные тепловые пожарные
-
Извещатели пламени
-
Извещатели ручные
-
Извещатели комбинированные
-
-
Извещатели аварийные
-
Оповещатели
-
Светильники и аварийное освещение
-
Системы активной защиты
-
Распродажа
-
-
Системы охранного телевидения
-
Системы контроля и управления доступом
-
Домофоны
-
IP-домофония
-
Идентификаторы
-
Кнопки выхода
-
Считыватели
-
Кодовые панели
-
Автономные устройства контроля доступа
-
Сетевые системы контроля доступа
-
Биометрический контроль доступа
-
Системы обратной и диспетчерской связи
-
Замки
-
Электрозащелки
-
Доводчики
-
Турникеты
-
Калитки
-
Ограждения
-
Шлагбаумы
-
Автоматика для ворот
-
Досмотровое оборудование
-
-
Системы оповещения
и управление эвакуацией-
СОУЭ Тромбон
-
СОУЭ Ария (Электротехника и Автоматика)
-
СОУЭ Соната (ВИСТЛ)
-
СОУЭ С (ИП Раченков)
-
СОУЭ МЕТА
-
СОУЭ Октава (Полисервис)
-
СОУЭ Рокот (Сибирский Арсенал)
-
СОУЭ РЕЧОР (РУССБЫТ)
-
СОУЭ РЕЧОР-АТ (АНТИТЕРРОР) (РУССБЫТ)
-
СОУЭ ПКИ-Р (СпецКомИнтегРо)
-
Системы оповещения о пожаре Asenware
-
СОУЭ ROXTON
-
Звуковое оборудование RORSYS
-
СОУЭ JDM
-
СОУЭ MKV
-
СОУЭ ZVON
-
СОУЭ INTER-М
-
-
Взрывозащищенное оборудование
-
Извещатели пожарные взрывозащищенные
-
Извещатели пожарные тепловые резервуарные
-
Извещатели пожарные тепловые точечные
-
Извещатели пожарные тепловые максимально-дифференциальные
-
Извещатели пожарные дымовые
-
Извещатели пожарные комбинированные
-
Извещатели пожарные ручные взрывозащищенные
-
Извещатели пожарные пламени взрывозащищенные
-
Комплектующие к пожарным извещателям
-
-
Извещатели пожарные линейные взрывозащищенные
-
Извещатели охранные взрывозащищенные
-
Извещатели аварийные взрывозащищенные
-
Оповещатели взрывозащищенные
-
Табло оповещения взрывозащищённое
-
Приборы приемно-контрольные и пульты управления взрывозащищенные
-
Адресные взрывозащищенные системы
-
Посты управления взрывозащищенные
-
Системы видеонаблюдения взрывозащищенные
-
Системы контроля доступа взрывозащищенные
-
Громкоговорители взрывозащищенные
-
Коробки коммутационные взрывозащищенные
-
Барьеры искрозащиты
-
Кабельные вводы взрывозащищенные
-
-
Источники вторичного электропитания
-
Расходные и монтажные материалы
-
Средства пожаротушения
-
Первичные средства пожаротушения
-
Порошковое пожаротушение
-
Водяное пожаротушение
-
Аэрозольное пожаротушение
-
Газовое пожаротушение
-
Автономные установки пожаротушения
-
Клапан сброса избыточного давления КСИД
-
Водопенное оборудование
-
Шкафы пожарные
-
Дымоудаление
-
Средства защиты и спасения
-
Знаки безопасности и плакаты
-
-
Сетевое оборудование