Время резерва, час
Зависит от РИП
Выходное напряжение, В
100
Количество зон
2+1 (деж. персонала)
Дисплей
ЖК
Номинальная мощность,Вт
160
Высота в Unit
2
Количество каналов управления
2
Реле выходы
2 (НО)+2 (НЗ)+1 (ОК)
Подключение
2-х проводное
Максимально комутируемые напряжение/ток, В/А
240/5
Количество линейных входов
5 (3 микр.+2 лин.)
Тревожные входы/выходы
5 /2-свет табло, сирена
Частотный диапазон,Гц
70 - 20000
Количество светодиодов, шт.
8
Карта памяти
SD (до 4 Гб)
Возможности расширения
До 70 зон через БУМ или БРЗ
Контроль линии оповещения
Есть
Суммарная длительность речевых сообщений, с
Зависит от карты
Максимальное количество речевых сообщений в памяти устройства
Зависит от карты
Встроенный микрофон
Микрофон-тангетка
Тип установки
Настольный, в 19" стойку
Рекомендуемый АКБ, А*ч
Не менее 1х5,5 (внешний)
Дополнительное оборудование
ПДУ-10 и РИП (приобр.)
Индикация
Световая и звуковая
Тип изделия
Центральный блок управления оповещением
Напряжение питания, В
187 -242/30 - 42
Ток потребления. мА
5000
Потребляемая мощность, Вт
200
Разъем
RCA, клеммы
Диапазон рабочих температур, °С
0...+55
Степень защиты, IP
10
Габаритные размеры, мм
490х430х90
Масса, кг
10
ЦБУ-160/2
Данный товар находится в архиве!
Возможность поставки уточняйте у менеджера!!
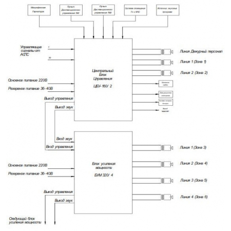
ЦБУ-160/2 - основной блок комплекса Речор-Гранд представляет собой законченное решение для организации системы речевого оповещения и музыкальной трансляции с 2-мя зонами общей мощностью звукового усилителя 160 Вт и зоной дежурного персонала 10 Вт.
Мощность встроенного усилителя распределяется между зонами оповещения в произвольной пропорции.
Данный блок управляет и контролирует все узлы и элементы в реальном времени, выводит информацию о состоянии системы на жидкокристаллический экран.
ЦБУ-160/2 принимает управляющие сигналы, формируемые автоматической системой пожарной сигнализации и пожаротушения (АСПС), и включает систему оповещения и управления эвакуацией людей (СОУЭ).
Обработав команды от АСПС, прибор ЦБУ-160/2 выдает сигналы речевого оповещения, активирует систему световых пожарных оповещателей, а так же выдаёт команды для системы контроля доступа на разблокировку дверей запасных выходов.
Высокое качество усилителей звука за счет широкой полосы частот позволяет передавать звук высокого качества — до 20МГц.
На крупных объектах (торговых и развлекательных центрах, бизнес-центрах) с большими площадями и количеством арендаторов возникает необходимость в многозонной системе оповещения для подачи информационных и рекламных сообщений.
В этом случае может быть использован РЕЧОР Гранд.
Нет необходимости разделять системы оповещения и музыкальной трансляции на две группы оборудования - РЕЧОР Гранд совмещает в себе эти функции — тем самым уменьшая количество оборудования, громкоговорителей и создавая дополнительную выгоду.
Многозонная система позволяет осуществлять автоматическую трансляцию сообщений аварийного оповещения при чрезвычайных ситуациях.
Ввиду того, что изделие может быть модифицировано, сведения, представленные на данной странице (изображение, характеристики, документация и т.п.), могут отличаться от фактических особенностей товара. За дополнительной информацией обращайтесь в техническую поддержку.
-
Охранно-пожарная сигнализация
-
Адресные системы
-
Радиоканальные системы
-
Астра-Р (ТЕКО)
-
Астра-РИ (ТЕКО)
-
Астра-РИ-М (ТЕКО)
-
Астра-Прайм (ТЕКО)
-
Астра-Zитадель (ТЕКО)
-
Ладога-РК (Риэлта)
-
С2000Р (Болид)
-
ВЕКТОР-АР (Сибирский Арсенал)
-
ВЕТТА-2020 (Сибирский Арсенал)
-
ГРАНИТ-РК (Сибирский Арсенал)
-
Риф-Ринг-1 (Альтоника)
-
Риф-Ринг-2 (Альтоника)
-
Риф-Ринг-701 (Альтоника)
-
Риф-Ринг-200 (Альтоника)
-
Lonta Optima (Альтоника)
-
Lonta-202 (Альтоника)
-
ACS (GSN)
-
-
GSM системы
-
Приборы приемно-контрольные
-
Извещатели охранные для помещений
-
Извещатели магнитоконтактные
-
Извещатели тревожной сигнализации
-
Извещатели разбития стекла акустические
-
Извещатели разбития стекла ударноконтактные
-
Извещатели движения ультразвуковые
-
Извещатели движения инфракрасные объемные
-
Извещатели движения пассивные инфракрасные поверхностные (штора)
-
Извещатели движения пассивные инфракрасные линейные (коридор)
-
Извещатели движения пассивные инфракрасные потолочные
-
Извещатели движения комбинированные
-
Извещатели совмещенные
-
Извещатели вибрационные и емкостные
-
-
Извещатели охраны периметра
-
Извещатели охраны периметра линейные ИК-активные
-
Извещатели охраны периметра линейные радиоволновые для установки на открытых участках
-
Извещатели охраны периметра ИК-пассивные
-
Извещатели охраны периметра объемные радиоволновые
-
Извещатели охраны периметра комбинированные
-
Извещатели охраны периметра проводно-волновые
-
Извещатели охраны периметра вибрационные
-
-
Извещатели пожарные
-
Извещатели дымовые 2-х проводные
-
Извещатели дымовые 4-х проводные
-
Извещатели дымовые автономные
-
Извещатели дымовые линейные
-
Извещатели дымовые аспирационные
-
Извещатели тепловые максимальные (пороговые)
-
Извещатели тепловые максимально-дифференциальные
-
Извещатели линейные тепловые пожарные
-
Извещатели пламени
-
Извещатели ручные
-
Извещатели комбинированные
-
-
Извещатели аварийные
-
Оповещатели
-
Светильники и аварийное освещение
-
Системы активной защиты
-
Распродажа
-
-
Системы охранного телевидения
-
Системы контроля и управления доступом
-
Домофоны
-
IP-домофония
-
Идентификаторы
-
Кнопки выхода
-
Считыватели
-
Кодовые панели
-
Автономные устройства контроля доступа
-
Сетевые системы контроля доступа
-
Биометрический контроль доступа
-
Системы обратной и диспетчерской связи
-
Замки
-
Электрозащелки
-
Доводчики
-
Турникеты
-
Калитки
-
Ограждения
-
Шлагбаумы
-
Автоматика для ворот
-
Досмотровое оборудование
-
-
Системы оповещения
и управление эвакуацией-
СОУЭ Тромбон
-
СОУЭ Ария (Электротехника и Автоматика)
-
СОУЭ Соната (ВИСТЛ)
-
СОУЭ С (ИП Раченков)
-
СОУЭ МЕТА
-
СОУЭ Октава (Полисервис)
-
СОУЭ Рокот (Сибирский Арсенал)
-
СОУЭ РЕЧОР (РУССБЫТ)
-
СОУЭ РЕЧОР-АТ (АНТИТЕРРОР) (РУССБЫТ)
-
СОУЭ ПКИ-Р (СпецКомИнтегРо)
-
Системы оповещения о пожаре Asenware
-
СОУЭ ROXTON
-
Звуковое оборудование RORSYS
-
СОУЭ JDM
-
СОУЭ MKV
-
СОУЭ ZVON
-
СОУЭ INTER-М
-
-
Взрывозащищенное оборудование
-
Извещатели пожарные взрывозащищенные
-
Извещатели пожарные тепловые резервуарные
-
Извещатели пожарные тепловые точечные
-
Извещатели пожарные тепловые максимально-дифференциальные
-
Извещатели пожарные дымовые
-
Извещатели пожарные комбинированные
-
Извещатели пожарные ручные взрывозащищенные
-
Извещатели пожарные пламени взрывозащищенные
-
Комплектующие к пожарным извещателям
-
-
Извещатели пожарные линейные взрывозащищенные
-
Извещатели охранные взрывозащищенные
-
Извещатели аварийные взрывозащищенные
-
Оповещатели взрывозащищенные
-
Табло оповещения взрывозащищённое
-
Приборы приемно-контрольные и пульты управления взрывозащищенные
-
Адресные взрывозащищенные системы
-
Посты управления взрывозащищенные
-
Системы видеонаблюдения взрывозащищенные
-
Системы контроля доступа взрывозащищенные
-
Громкоговорители взрывозащищенные
-
Коробки коммутационные взрывозащищенные
-
Барьеры искрозащиты
-
Кабельные вводы взрывозащищенные
-
-
Источники вторичного электропитания
-
Расходные и монтажные материалы
-
Средства пожаротушения
-
Первичные средства пожаротушения
-
Порошковое пожаротушение
-
Водяное пожаротушение
-
Аэрозольное пожаротушение
-
Газовое пожаротушение
-
Автономные установки пожаротушения
-
Клапан сброса избыточного давления КСИД
-
Водопенное оборудование
-
Шкафы пожарные
-
Дымоудаление
-
Средства защиты и спасения
-
Знаки безопасности и плакаты
-
-
Сетевое оборудование